保时捷要复活手动挡?这次玩的是“手自一体” 电动化浪潮下,手动挡还能活多久?保时

善朴谈汽车啊 2026-03-29 13:09:14

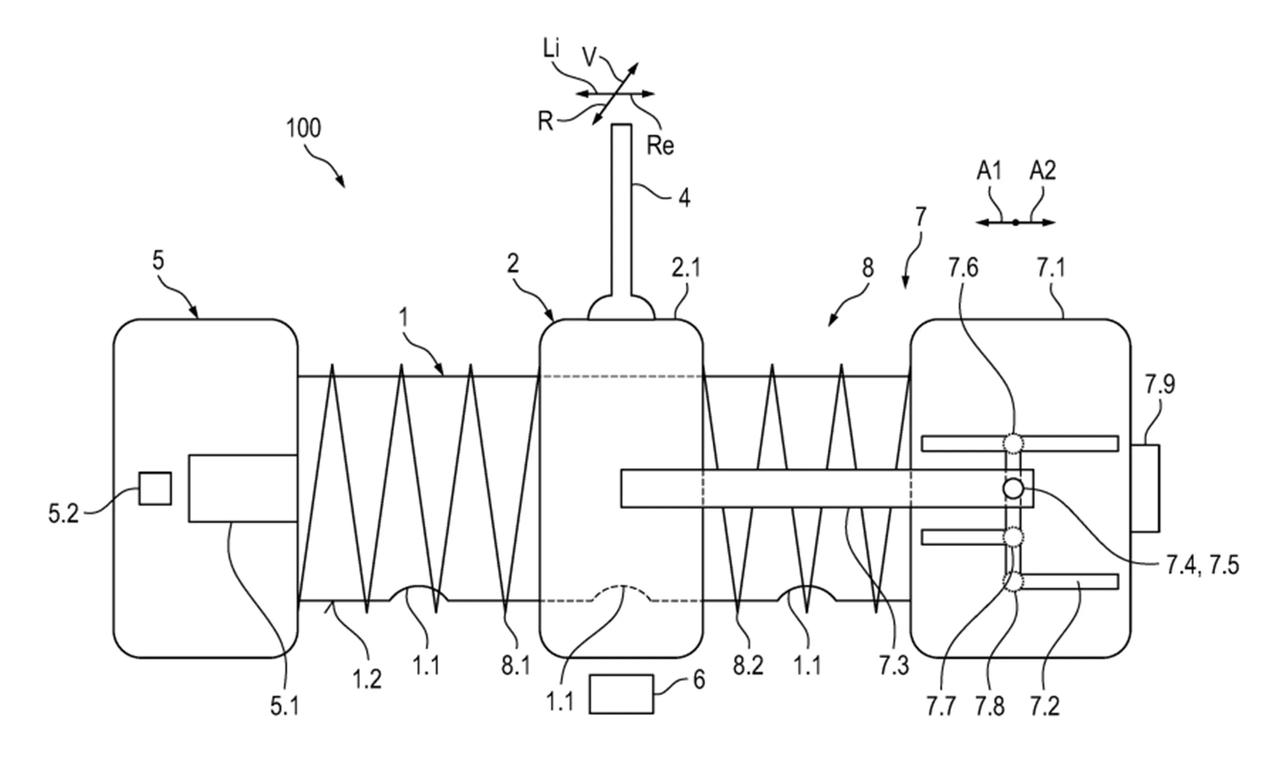
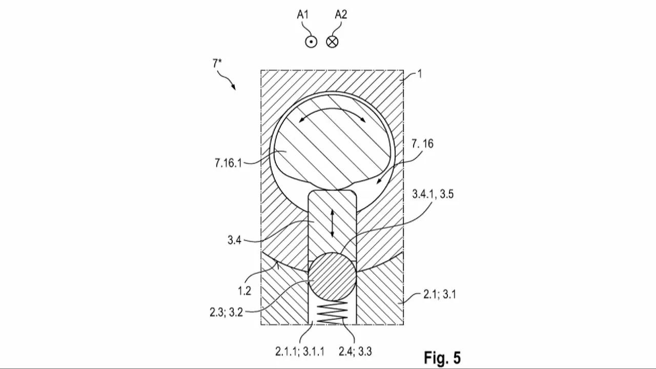
保时捷要复活手动挡?这次玩的是“手自一体” 电动化浪潮下,手动挡还能活多久?保时捷给出一个新答案:把手动和自动装进同一个变速箱。 根据近期公布的专利,保时捷正在研发一种类似柯尼塞格CC850的变速箱结构——日常开是自动挡,切换到“H模式”就变成带离合踏板的六速手动,通过传感器追踪换挡动作,再用电机模拟传统手感。既能保留参与感,又能让手动挡在电气化时代继续生存。 问题是,这套系统成本极高。柯尼塞格可以靠百万美元售价消化,保时捷要把它装进更主流的车型,难度不小。但至少,这个想法本身已经足够让手动挡爱好者看到希望。你会为这样的“电控手动”买单吗?保时捷 手动挡

0 阅读:11
善朴谈汽车啊

善朴谈汽车啊

感谢大家的关注