老涛资讯网
小蕊评汽车啊的文章
定名!尚界新车:Z7。轿跑黄金比例,长结合宽,还有小蓝灯位置。这标语很有战斗性啊
汽车
2026-01-07 19:25
限量 9 台,蔚来 ET9 百万纪念限量版,整车价 81.8万,BaaS 租电价
汽车
2026-01-07 18:25
聊起汽车上听歌看电影,您会想起什么谁,2026 CES上杜比展示了很多沉浸式娱乐
科技
2026-01-07 17:25
都来瞅瞅。极氪8X最新的伪装照,仔细看跟9X还是有区别,尤其灯幕,侧面和尾部,这
汽车
2026-01-07 16:26
继B系列之后,零跑C系列销量也出来了,2025年零跑总销量卖了快60万辆,C系列
汽车
2026-01-07 15:25
在宝马的绿色征程中,MINI品牌以“为循环而设计”为目标,和创意伙伴一起想点子,
汽车
2026-01-07 15:25
大电池长续航是铁定趋势,插混头子比亚迪为四款插混车加推210公里纯电续航版,包括
汽车
2026-01-07 14:25
近日,杰兰路咨询发布《2025下半年新能源汽车品牌健康研究报告》。报告显示,问界
汽车
2026-01-07 12:25
新一代小米SU7今天上午10点之后可以小订了,预计4月上市,预售22.99万起。
汽车
2026-01-07 11:25
离启境新车揭开真面目又近了一步,最近好多网友拍到了测试车,伪装不伪装的不说,车的
汽车
2026-01-06 18:25
长城汽车全新平台正式定名为“归元”,以2.2万投票数高居榜首,我的理解,名字翻译
汽车
2026-01-06 18:25
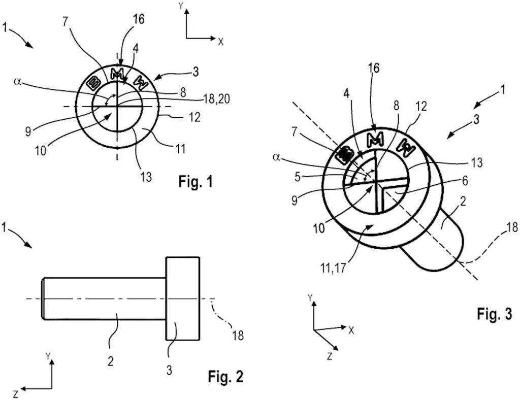
铁子们,就问你这玩意细不细,宝马要申请新螺丝头专利,螺丝顶部设计成宝马车标,四个
汽车
2026-01-06 17:25
害得是老北京,这政策太民生了!北京市交管部门联合医疗卫生机构全面推行交通事故伤员
社会
2026-01-06 17:25
蔚来公司第100万台量产车下线,一台星辰绿的蔚来全新ES8。 2014年,蔚来公
汽车
2026-01-06 16:25
CES展,吉利正式发布“千里浩瀚G-ASD”,领克900首搭千里浩瀚G-ASD,
汽车
2026-01-06 15:25
2026年国际消费电子展上现代汽车表示,计划从2028年开始在美国乔治亚州工厂部
科技
2026-01-06 13:25
CES国际消费电子展,吉利汽车正式宣告全域AI战略迈入2.0时代,WAM世界行为
汽车
2026-01-06 13:25
保时捷卡宴纯电实车到店,不说里面的肉儿,咱就看外面的皮儿,是不是您菜?个人觉得论
汽车
2026-01-05 17:25
大众汽车推出高尔夫GTI 50周年纪念版,这也许是最后一代燃油GTI。1976~
汽车
2026-01-05 15:25
新年第一周,新车开始上来了昂,大家瞅瞅,上市车型以改款居多。 1月6日:2026
汽车
2026-01-05 14:25
第一页
下一页
小蕊评汽车啊
感谢大家的关注
热门分类
推荐
热榜
军事
NBA
体育
社会
明星八卦
娱乐
财经
科技
汽车
历史
国际
游戏
动漫
公益
搞笑
商业
互联网
数码
国际足球
房产
家居
时尚
科学探索
职场
育儿
股票
教育
影视
情感
热点
中国军情
武器
中国南海
中国足球
亚洲杯
科比
综合体育
CBA
投资
大咖秀
外汇
创业
风口
SUV
豪车
概念车
优惠
新能源
美国
欧洲
朝日韩
俄罗斯
孕期
街拍
婚姻
正能量