#东鹏饮料0糖特饮是商标#【东鹏饮料的“0糖特饮”是商标,企业回应:产品已停售】#东鹏0糖特饮商标产品已停售#近日,据其他媒体报道,在健康消费风潮下,食品行业扎堆布局“0糖”“0脂”商标,众多食品饮料品牌纷纷抢注。其中,“0糖”已被多方抢注为商标,申请人包括东鹏饮料(集团)股份有限公司、徐福记国际控股集团有限公司、奈雪的茶关联公司深圳市品道餐饮管理有限公司等,国际分类涉及食品、方便食品、啤酒饮料等。
值得关注的是,东鹏饮料旗下的东鹏“0糖特饮”也是注册商标,引发网友热议。对此,东鹏饮料方面向南都·湾财社记者表示,“东鹏0糖特饮”产品符合国家相关标准,商标注册是出于产品品牌保护需求,目前该产品已停止售卖。
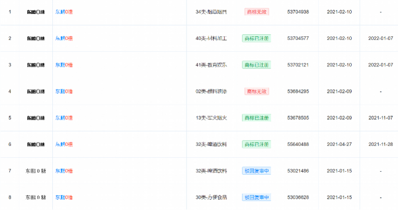
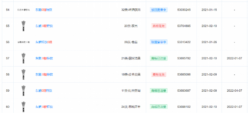
天眼查App信息显示,东鹏饮料早在2021年就开始注册多个“东鹏0糖特饮”及“0糖特饮”商标,其中部分商标已注册成功,也有不少被驳回复审或宣布无效。
南都·湾财社记者就此事拨打东鹏饮料董秘电话,接线员回应称,“东鹏0糖特饮”产品严格遵循国家法规(《GB28050-2011预包装食品营养标签通则》)针对“0糖”(无糖)的标准要求,商标注册是出于产品品牌保护需求;同时表示该产品目前已停止售卖。记者留意到,在主流电商平台上,“东鹏0糖特饮”产品确已不再销售,但另一款“无糖型”东鹏特饮正在热卖,产品配料表前四位分别是:水、赤藓糖醇、麦芽糊精、麦芽糖醇液。
值得注意的是,从2023年开始,东鹏特饮就已成功跻身“百亿大单品”,且该产品一直以来都是东鹏饮料的收入来源支柱。
根据东鹏饮料此前披露的年报,2025年公司实现营业收入208.75亿元,归属于上市公司股东的净利润为44.15亿元,同比分别增长31.80%和32.72%。其中,以东鹏特饮为主的能量饮料仍是核心收入来源,2025年实现营收155.99亿元,同比增长17.25%,占总收入比重为74.78%。
除东鹏特饮以外,东鹏饮料还注册了多个“0糖”商标。天眼查App信息显示,东鹏饮料已申请51条“东鹏0糖”相关商标信息,其中25条已经注册成功,另有10多条商标无效,还有部分在驳回复审中或者商标异议中。南都·湾财社记者 王静娟




