老涛资讯网
新黄河的文章
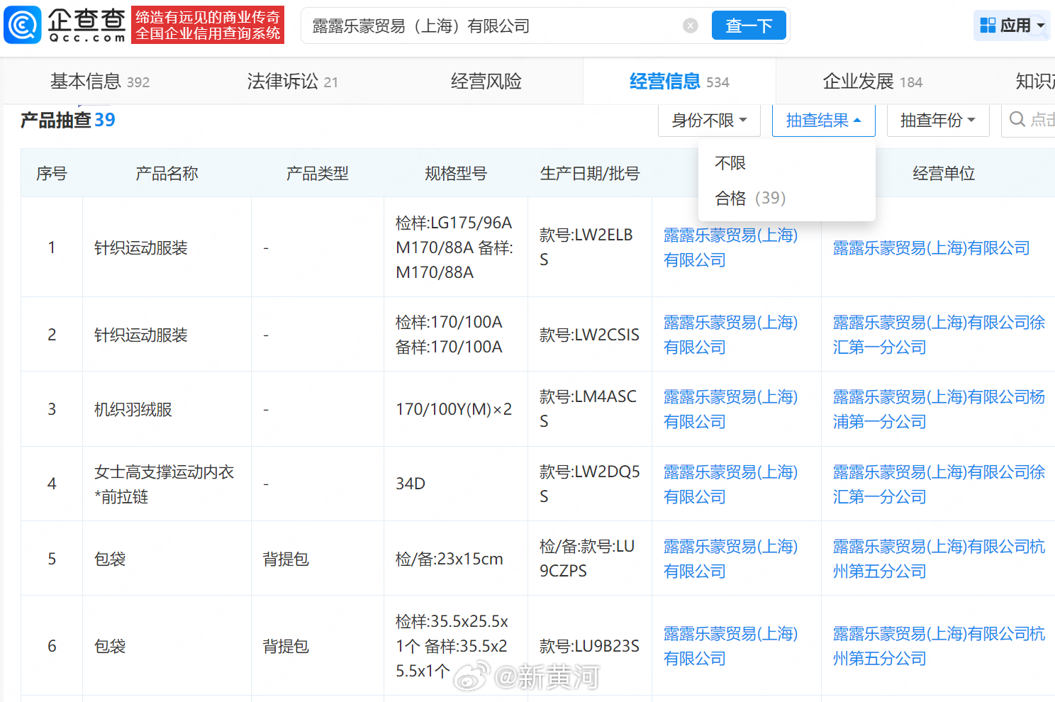
【#Lululemon中国门店多次抽检均合格#】#Lululemon被指含致癌化
时尚
2026-04-14 17:37
近期,湖南、山西等地接连发生小客车弯道路段多人死伤道路交通事故。公安部:行经弯道
社会
2026-04-14 17:41
天眼查App显示,4月14日,宿迁知周企业管理有限公司成立,法定代表人为李瑞玉,
社会
2026-04-14 17:12
记者4月14日从公安部获悉,为强化以案示警、以案释法,公安部、自然资源部联合公布
社会
2026-04-14 16:41
近日,沉寂许久的演员文章在上海开了一家名为“八号院儿”的面馆,文章热情迎客,态度
社会
2026-04-14 16:41
“擦边赛道”非法牟利!被央视曝光AI“造黄”产业链后,14日,哩布哩布AI致歉:
2026-04-14 16:41
记者今天了解到,市场监管总局发布24项国家计量技术规范,为声学设备、道路交通、电
2026-04-14 16:41
澳大利亚去年12月开始实施全球首例未成年人社交媒体禁令,其效果如何备受关注。最新
国际
2026-04-14 16:41
【#车牌改色罚200元扣9分#】近日,有网友通过社交平台发布视频,称其在路上看到
社会
2026-04-14 15:13
【#车牌改色罚200元扣9分#】近日,有网友通过社交平台发布视频,称其在路上看到
社会
2026-04-14 15:09
4月13日,有网友在短视频平台发帖反映,南京市浦口区江浦街道社区卫生服务中心的工
2026-04-14 14:14
【#Lululemon被正式调查#】#Lululemon被指含致癌化学物# 近日
时尚
2026-04-14 13:11
【#Lululemon被正式调查#】#Lululemon被指含致癌化学物# 近日
时尚
2026-04-14 13:22
帐篷里的“诗与远方”,需要一把规矩的尺!春日渐深,济南的山水之间悄然换了模样。漫
2026-04-14 13:12
项目建设进入集中发力关键阶段!记者探营济南轨道交通4号线TOD项目!随着济南轨道
社会
2026-04-14 13:12
“身有所安”才是城,“心有所归”方为家!清晨穿梭街巷的外卖骑手、傍晚奔走社区的快
社会
2026-04-14 13:12
济南北园大街:从藕田到“大动脉”!在济南市天桥区摄影家协会主席张崇元的镜头里,北
2026-04-14 13:12
从剧场到直播间 专业院团演员直播成新风尚!近来,抖音等短视频平台上,专业院团演员
社会
2026-04-14 13:12
英雄山东麓访“拳承”!雨后清晨,英雄山东麓,春寒料峭。从山脚步行至“济南形意拳传
社会
2026-04-14 13:12
济南这所学校收到一位72岁老人的手写感谢信!近日,济南市历元学校收到一面写有“品
社会
2026-04-14 13:12
第一页
下一页
新黄河
新黄河客户端官方账号
热门分类
推荐
热榜
军事
NBA
体育
社会
明星八卦
娱乐
财经
科技
汽车
历史
国际
游戏
动漫
公益
搞笑
商业
互联网
数码
国际足球
房产
家居
时尚
科学探索
职场
育儿
股票
教育
影视
情感
热点
中国军情
武器
中国南海
中国足球
亚洲杯
科比
综合体育
CBA
投资
大咖秀
外汇
创业
风口
SUV
豪车
概念车
优惠
新能源
美国
欧洲
朝日韩
俄罗斯
孕期
街拍
婚姻
正能量