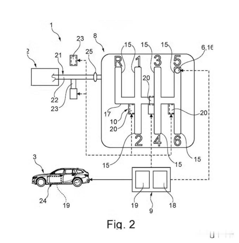
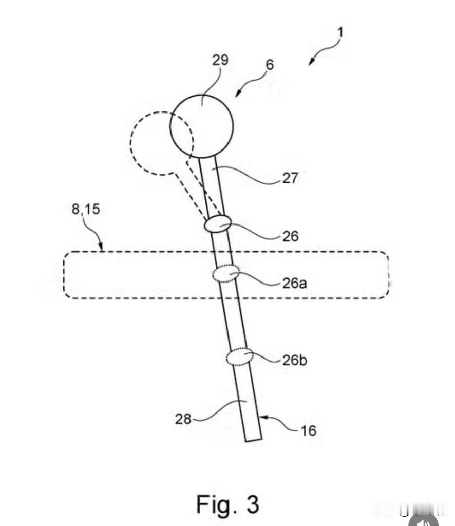
宝马刚刚获得了一项手动变速箱专利,该变速箱可以通过物理方式阻止错误的降档,防止误操作导致发动机损坏。 传感器检测速度和转速。 换挡不安全?变速杆无法移动。 宝马正在努力保留手动挡汽车,而其他厂商却放弃了手动挡。 这是巧妙的工程设计,还是破坏了手册的纯粹性?





宝马刚刚获得了一项手动变速箱专利,该变速箱可以通过物理方式阻止错误的降档,防止误操作导致发动机损坏。 传感器检测速度和转速。 换挡不安全?变速杆无法移动。 宝马正在努力保留手动挡汽车,而其他厂商却放弃了手动挡。 这是巧妙的工程设计,还是破坏了手册的纯粹性?





猜你喜欢
作者最新文章
热门分类
国际TOP
国际最新文章