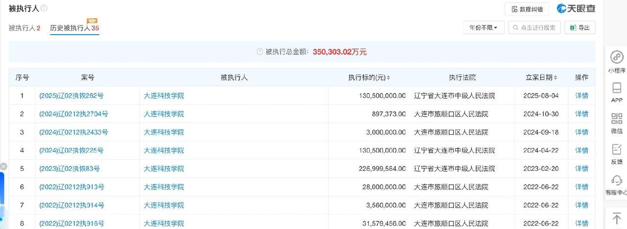
活久见系列之本科高校欠薪! 民办大学自负盈亏,学费绝对是收入的大头。这个大连科技学院也不例外,很难想象,大连科技学院虽然是民办,但也是本科高校,学费比公办高出三四倍(2.5万起),竟然全员发不出工资,还有30多亿债务黑洞。 这个高校更名非常频繁,2011年之前是大连交通大学信息工程学院,2004年它的名字是大连铁道学院信息工程学院,再往前翻,2002年才建校。这大学的历史满打满算23年而已。 这所高校2024年在民办高校排行五十名开外,这下估计更是雪上加霜了!(图四)




活久见系列之本科高校欠薪! 民办大学自负盈亏,学费绝对是收入的大头。这个大连科技学院也不例外,很难想象,大连科技学院虽然是民办,但也是本科高校,学费比公办高出三四倍(2.5万起),竟然全员发不出工资,还有30多亿债务黑洞。 这个高校更名非常频繁,2011年之前是大连交通大学信息工程学院,2004年它的名字是大连铁道学院信息工程学院,再往前翻,2002年才建校。这大学的历史满打满算23年而已。 这所高校2024年在民办高校排行五十名开外,这下估计更是雪上加霜了!(图四)




作者最新文章
热门分类